| Questi pressostati, di costruzione particolarmente robusta, trovano
la loro applicazione in tutti gli ambiti industriali per il controllo di
pressione di aria, acqua o olio.
APPLICAZIONI
CARATTERISTICHE MECCANICHE
Microinterruttore unipolare inversore con contatti bimetallici argento/ossido
di cadmio
|
| in circuito ohmico puro:
5A/220V 50Hz |
in circuito induttivo con cosj=0.6
1.5A/250V 50Hz |
Grado di protezione:
IP 40
PRESENTAZIONE
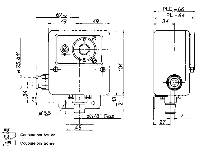
PL: scatola in metallo laccatofinitura grigio-blu martellata cotta in
forno. Il coperchio della scatola presenta uan finestra trasparente attraverso
cui è possibile controllare gli indici di regolazione.
Due manopole di regolazione: la manopola centrale regola la pressione
di intervento, quello laterale lo scarto tra apertura e chiusura dei contatti
(differenziale). Per tutti i modelli a differenziale regolabile, il valore
impostato sulla manopola è relativo all'intervento al decrescere
della pressione.
Presa di pressione tramite raccordo filettato 3/8" gas maschio (12x17)
Fissaggio dell'apparecchio tramite staffa situata nella parte inferiore.
Massa: 1 Kg
PR: stesse caratteristiche del PL tranne:
Scatola in ABS grigio con finestra, base in metallo
Massa: 450 g
TABELLA CARATTERISTICHE ARTICOLI
|
|
|
|
|
|
|
|
|
|
|
|
|
|
|
|
|
|
|
|
|
|
|
|
|
| PL | PR |
![]() |
![]() |