Pressostati PS
 
Il pressostato PS possiede, in un volume ridotto, le qualità meccaniche ed elettriche dei pressostati classici. Equipaggiato con membrana e raccordo in acciaio inox, può essere utilizzato con la maggior parte dei fluidi e dei gas. 

APPLICAZIONI 
Regolazione automatica di pressione tra 0,2 e 9 bar (su diversi modelli) 

CARATTERISTICHE MECCANICHE 
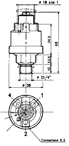
Gruppo pressostatico: 
membrana in acciaio inox Z12-CNF-1807 elettrosaldata 
raccordo in acciaio inox Z10-CNF-1809 

Temperatura massima dell'ambiente di lavoro: 80°C 
Temperatura massima del fluido controllato: 120°C 

L'impostazione della pressione di intervento è effettuata tramite un asse con taglio a cacciavite posto nella parte superiore dell'apparecchio; la rotazione in senso orario aumenta la pressione di intervento.

Il differenziale (isteresi) viene regolato in fabbrica e non può essere modificato.

Microinterruttore unipolare inversore, contatti bimetallici argento/ossido di cadmio

Portata contatti:
in circuito ohmico puro: 
15A/250V 50Hz 
  8A/380V 50Hz
in circuito induttivo con cosj=0.6 
2.2A/250V 50Hz 
1.3A/380V 50Hz 
 
Isolamento: superiore a 1500 V

Connessioni elettriche:
Apertura contatti al salire della pressione: contatti 1 e 2
Apertura contatti al discendere della pressione: contatti 1 e 4
Contatto elettrici tramite faston maschi 6,3x0,8 mm in ottone.

Grado di protezione:
Fino a IP 65 con cappuccio di protezione fascettato e uscita cavi sigillata; con solo cappuccio IP 435

Conformità alle norme:
CE, VDE, ASE

TABELLA CARATTERISTICHE ARTICOLI

Articolo
Gamma di regolazione (bar)
Differenziale (isteresi) al margine inferiore della gamma (bar)
Differenziale (isteresi) al margine superiore della gamma (bar)
Pressione massima ammessa (bar)
PS1401
0.2-0.9
+0.140/-0.040
+0.170/-0.040
5
PS1501
0.9-1.7
+0.200/-0.050
+0.250/-0.050
5
PS1601
1.5-2.8
+0.220/-0.070
+0.330/-0.050
7
PS1611
 2-4
+0.400/-0.060 
+0.400/-0.060 
PS1613
 4-6.5
+0.500/-0.050 
+0.500/-0.050 
8
PS1701
2.5-9
+0.950/-0.250
+1.200/-0.300
11
PS2001
 0.4-2.6
 +0.250/-0.050
 +0.250/-0.050
 
QUOTE DI INGOMBRO